CS18H脉冲式热动力疏水阀产品概述
疏水阀是用于蒸汽管网及设备中,能自动排出凝结水、空气及其它不凝结气体,并阻止蒸汽泄漏的阀门。当使用和利用蒸汽的设备只需要蒸汽,在这种设备内肯定会产生凝结水,同时还混入了空气和其他不可凝气体,成为引起设备产生故障和降低性能的原因。在这种情况下,疏水阀能够迅速排除凝结水、防止蒸汽泄漏、排除空气及其他不可凝气体。脉冲式疏水阀是依靠液体的热动力学性质的变化而动作的热动力型疏水阀,其有和两个孔板根据蒸汽压降变化调节的阀门开关,即使阀门完全关闭入口和出口,也可以通过第一、第二个小孔相通,始终处于不完全关闭状态,从而使蒸汽不断逸出,漏汽量大。
CS18H脉冲式热动力疏水阀工作原理
脉冲式疏水阀是依靠液体的热动力学性质的变化而运作的热动力型疏水阀,由于不同温度的凝结水通过两极串连节流孔板时,会在两极节流孔板之间形成不同压力,从而驱使阀瓣动作。
CS18H脉冲式热动力疏水阀产品特点
脉冲式疏水阀体积小、耐水击,能排出空气和饱和温度水,接近连续排水,最大背压25%,但是其动作频率很高,磨损厉害,因此寿命较短。
CS18H脉冲式热动力疏水阀适用范围
脉冲式疏水阀适用于各种轻重工业及楼宇管道,广泛应用于化工、石化、石油、造纸、采矿、电力、液化气、食品、制药、给排水、市政、机械设备配套、电子工业,城建等领域。
脉冲式疏水阀 不同压差时的zui大连续排水量
|
公称径径(mm)/ |
15 |
20 |
25 |
40 |
50 |
|
0.15 |
253 |
600 |
1180 |
1680 |
2050 |
|
O.2 |
319 |
660 |
1260 |
1730 |
2280 |
|
0.3 |
366 |
780 |
1320 |
2220 |
2580 |
|
0.4 |
418 |
840 |
1380 |
2400 |
2970 |
|
0.5 |
424 |
900 |
1440 |
2520 |
3180 |
|
0.6 |
471 |
960 |
1560 |
2580 |
3420 |
|
0.7 |
486 |
1020 |
1620 |
2620 |
3600 |
|
0.8 |
531 |
1080 |
1680 |
2760 |
3720 |
|
0.9 |
598 |
1140 |
1710 |
3000 |
3970 |
|
1.0 |
605 |
1260 |
1860 |
3060 |
4200 |
脉冲式疏水阀 主要零部件材料
|
零件名称 |
阀体、阀盖 |
阀瓣、阀座、控制缸 |
阀罩 |
阀座、垫片 |
|
材料 |
碳钢 |
不锈钢 |
粉末冶金 |
纯铜 |
脉冲式疏水阀 主要外形尺寸
|
公称通径DN(mm) |
锥管螺纹(in) |
尺寸(mm) |
|||
|
L |
A |
B |
H |
||
|
15 |
Rc1/2 |
67 |
16 |
32 |
84 |
|
20 |
Rc3/4 |
76 |
22 |
38 |
96 |
|
25 |
Rc1 |
86 |
225 |
45 |
104.2 |
|
40 |
Rc11/2 |
108 |
35 |
63 |
137 |
|
50 |
Rc2 |
120 |
42 |
76 |
157 |
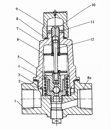
CS18H脉冲式热动力疏水阀外形结构图

工开阀门承诺:
(1) 严格按照合同要求,提供符合设计标准,质量合格的产品。
(2)严格检查和控制原材料、原器件、配套件的进厂质量。
(3)保证所供设备加工工艺完善、检测手段完备。
(4)按合同规定的关键部件必须符合有关资质的要求,并经需方认可。
(5) 按合同规定向监造单位提供有关部门标准和图纸,并为监造提供方便并对监造设备的停工待检部位提前7天通知需方及监造代表,需方所派监造是督促我方按标准生产合格产品,但并不减我方的一切质量责任。
(6) 对设备制造过程中出现的质量缺陷及时向需方和监造代表通报、不隐瞒。在安装和试运行过程中,设备出现质量问题,先处理问题,再分清责任,一切以满足工程进度需要为准则。
吕经理
地址:上海市普陀区真北路3199号星云经济区
电 话:13524573866
E-mail:llwwf@163.com